PT66 | Bluebell - Authorized Valve Dealer & Supplier

PT 66 (IBR/Non IBR)

PT 66 (IBR/Non IBR)

Float & Thermostatic Steam Traps

DESCRIPTION:

High capacity float and thermostatic (internal air vent) steam traps are designed for draining condensate from all types of low and medium pressure steam heating and process equipment.

FEATURES:

Modulating discharge. Discharges condensate at steam temperature. Excellent air venting (by thermostatic air vent).

TMA: Max.

220 oC

PMA: Max.

16 bar(g)

MOC

A216 Gr. WCB

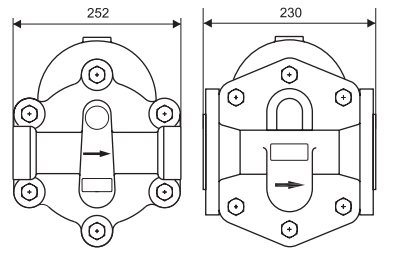
End connection: Screwed NPT / BSPT / BSP / Flanged / Socket Weld

Available Sizes

Material

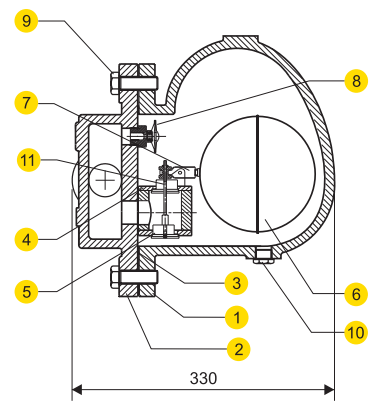
NO. PART MATERIAL QTY. (Nos.)
1. BODY ASTM A216 Gr. WCB 01
2. COVER ASTM A216 Gr. WCB 01
3. GASKET GRAPHITE WITH SS REINFORCEMENT 01
4. VALVE SEAT ASTM A743 Gr.CA40 / AISI 410/420 02
5. VALVE PIN AISI 410/420 02
6. BALL FLOAT AISI 304 01
7. LEVER AISI 304 01
8. AIR VENT STAINLESS STEEL 01
9. BOLT ASTM A193 Gr. B7 06
10. DRAIN PLUG CARBON STEEL 01
11. STEM AISI 304 / AISI 410 01
12. SLR UNIT AISI 304 01

Product GAD

Pennant PT66 Design1
Pennant PT66 Design2

Weights

Screwed/SW Flanged
31 kg 35 kg

Ordering Information

1) Inlet Pressure in bar(g)

2) Back Pressure in bar(g)

3) Operating Temperature in oC

4) Condensate Load in kg/hr

5) Size & Model

6) End Connections

Please Fill in the Details for Prompt Response