PT65H | Bluebell - Authorized Valve Dealer & Supplier

PT 65H

PT 65H

Float & Thermostatic Steam Traps

DESCRIPTION:

High capacity float and thermostatic steam trap with internal air vent, designed for draining condensate from all types of low and medium pressure steam heating and process equipment.

FEATURES:

Modulating discharge. Discharges condensate at steam temperature. Excellent air venting (by thermostatic air vent).

TMA: Max.

220 oC

PMA: Max.

16 bar(g)

MOC

CAST IRON

End connection: Screwed NPT / BSPT / BSP

Available Sizes

Material

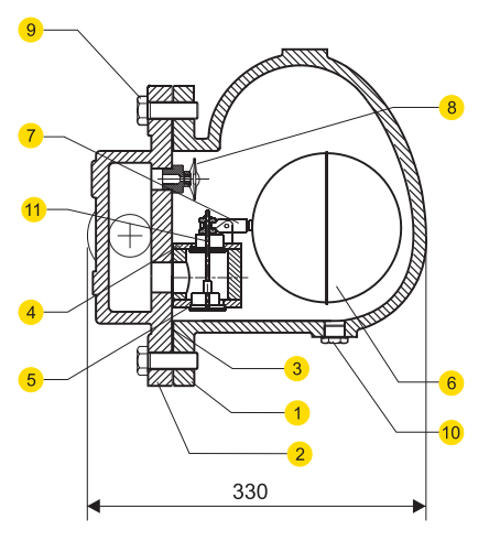
No. PART MATERIAL QTY. (Nos.)
1. BODY CAST IRON 01
2. COVER CAST IRON 01
3. GASKET GRAPHITE WITH SS REINFORCEMENT 01
4. VALVE SEAT AISI 410/420 02
5. VALVE PIN AISI 304 02
6. BALL FLOAT AISI 304 01
7. LEVER AISI 304 01
8. AIR VENT STAINLESS STEEL 01
9. BOLT HIGH TENSILE 06
10. DRAIN PLUG CARBON STEEL 01
11. STEM AISI 304 01
12. SLR UNIT AISI 304 01

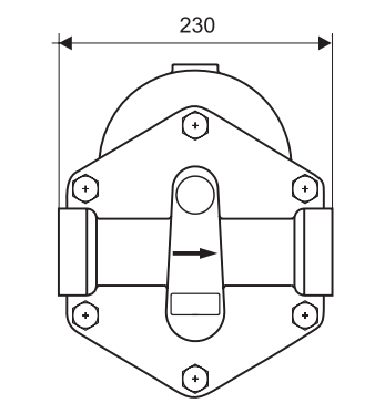
Product GAD

Pennant PT65H Design1
Pennant PT65H Design2

Weights

(approx.)

Size SCR / SW
DN40, DN50 around 30 kg.

Ordering Information

1) Inlet Pressure in bar(g)

2) Back Pressure in bar(g)

3) Operating Temperature in oC

4) Condensate Load in kg/hr

5) Size & Model

6) End Connections

Please Fill in the Details for Prompt Response