PT64 | Bluebell - Authorized Valve Dealer & Supplier

PT 64

PT 64

Float & Thermostatic Steam Traps

DESCRIPTION:

PT64 float and thermostatic (internal air vent) steam traps are designed for draining condensate from building heating installations. They can also be used in low pressure industrial installations.

FEATURES:

Modulating discharge of hot condensate at close to saturation temperature. Good air venting facilitates a fast start-up.

TMA: Max.

220 oC

PMA: Max.

16 bar(g)

MOC

CAST IRON

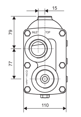
End connection: Screwed NPT / BSPT / BSP

Available Sizes

Material

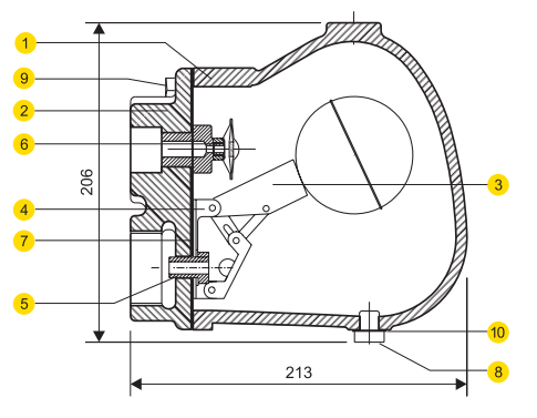
No. PART MATERIAL QTY.
1. BODY CAST IRON 01
2. COVER CAST IRON 01
3. BALL FLOAT & LEVER ASSY. AISI 304 01
4. BRACKET AISI 304 01
5. VALVE SEAT AISI 410 / 420 01
6. AIR VENT STAINLESS STEEL 01
7. GASKET COPPER 01
8. DRAIN PLUG CARBON STEEL 01
9. BOLT HIGH TENSILE 06
10. GASKET Non CAF 01

Product GAD

Pennant PT64 Design1
Pennant PT64 Design2

Weights

(approx.)

Size SCR / SW
DN32, 40 7 kg
DN50 12 kg

Ordering Information

1) Inlet Pressure in bar(g)

2) Back Pressure in bar(g)

3) Operating Temperature in oC

4) Condensate Load in kg/hr

5) Size & Model

6) End Connections

Please Fill in the Details for Prompt Response