1079B Cast Iron Sluice Valve PN 1.6 (Flanged) | Bluebell - Authorized Valve Dealer & Supplier

Gate Valves

Cast Iron Sluice Valve PN 1.6 (Flanged)

Article Code: 1079B

Suitable For

Steam
Water
Oil
Air
Gases

Salient Features

  • Design Standard IS 14846 PN 1.6.
  • Bolted Bonnet, Inside Screw, Non-Rising Stem.
  • Rigid and Sturdy design.
  • Handwheel Operated.
  • Flange Ends as per IS 1538.
  • Pressure Rating PN:
  • Test Pressure (Hydrostatic) :
  • Shell : 2.4 MPa
  • Seat : 1.6 MPa
  • Maximum Working Temperature : 45oC

Description

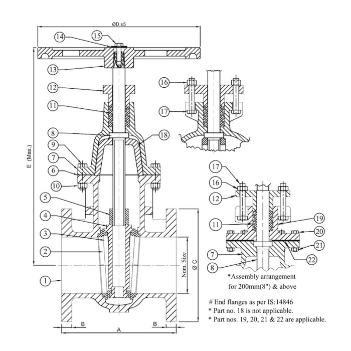
P.No. Name of Part Material of Construction Specification Qty.
1 Body Cast Iron IS 210 Gr. FG 200 1
2 Body Seat Ring Bronze IS 318 Gr. LTB 2 2
3 Wedge Ring Bronze IS 318 Gr. LTB 2 2
4 Wedge Cast Iron IS 210 Gr. FG 200 1
5 Stem Bush Bronze IS 318 Gr. LTB 2 1
6 Gasket Rubber IS 638 Type B 1
7 Bonnet Cast Iron IS 210 Gr. FG 200 1
8 Stem Stainless Steel IS 6603 Gr. 12 Cr. 12 1
9 Bolts Carbon Steel IS 1363 Part 1 Class 4.6 To Suit
10 Nuts Carbon Steel IS 1363 Part 3 Class 4.0 To Suit
11 Gland Packing Hemp & Jute IS 5414
12 Gland Flange Cast Iron IS 210 Gr. FG 200 1
13 Handwheel Cast Iron IS 210 Gr. FG 200 1
14 Washer Carbon Steel – – – 1
15 Bolt Carbon Steel IS 1363 Part 1 Class 4.6 1
16 Nuts Carbon Steel IS 1363 Part 3 Class 4.0 2
17 Bolts Carbon Steel IS 1363 Part 1 Class 4.6 2
18 Thrust Plate Cast Iron IS 210 Gr. FG 200 1
19 Stuffing Box Cast Iron IS 210 Gr. FG 200 1
20 Bolts Carbon Steel IS 1363 Part 1 Class 4.6 To Suit
21 Nuts Carbon Steel IS 1363 Part 3 Class 4.0 To Suit
22 Gasket Rubber IS 638 Type B 1

Product GAD

1079B Cast Iron Sluice Valve PN 1.6 (Flanged) Desgin

Sizes / Dimensions

Size (Inches) Size (mm) A B ØC ØD ±5 E (Max.)
2 50 178 ±2 16 ±2 165 (+1.5/-1.0) 280 365
2 1/2 65 190 ±2 16 ±2 185 (+1.5/-1.0) 280 380
3 80 203 ±2 21 ±3 200 ±4.5 280 425
4 100 229 ±2 22 ±3 220 ±4.5 360 470
5 125 254 ±2 22.5 ±3 250 ±4.5 360 485
6 150 267 ±2 23 ±3 285 (+5.5/-2.5) 360 595
8 200 292 ±3 24.5 ±3 340 (+5.5/-2.5) 450 725
10 250 330 ±3 26 ±3 395 (+5.5/-2.5) 640 835
12 300 356 ±3 27.5 ±3 445 (+5.5/-2.5) 640 910

Please Fill in the Details for Prompt Response