PT14BM | Bluebell - Authorized Valve Dealer & Supplier

PT 14BM (IBR/Non IBR)

PT 14BM (IBR/Non IBR)

Thermostatic Static Trap With Bimetallic Column

DESCRIPTION:

PT14BM high pressure thermostatic steam trap is made of forged body with bimetallic controller assembly, inbuilt strainer and stainless-steel internals. Best suited for high pressure steam trace lines, header drip legs, heating coils and various process and heating applications.

FEATURES:

Excellent resistance to water hammer. Tight Shut-off, No Steam Loss. Easy Maintenance – No Need of removing trap from the piping system to clean/ replace internals. Long lasting modulating discharge. Excellent air venting capacity.

TMA: Max.

565 oC @ 104 bar(g)

PMA: Max.

430.9 bar(g) @380 oC

MOC

F22 CL3

End connection: Socket Weld / Butt Weld / Flanged

Available Sizes

Material

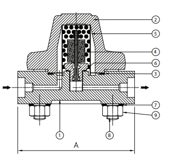
NO PART NAME MATERIAL QTY
1 BODY ASTM A182 GR. F22 CL3 1
2 COVER ASTM A182 GR. F22 CL3 1
3 COVER GASKET SPIRAL WOUND GASKET WITH GRAPHITE AISI304 1
4 CONTROLLER ASSLY BIMETAL 1
5 STRAINER SCREEN AISI 304
40 Mesh, ⌀6 Perforation
1
6 CONTROLLER ASSLY GASKET AISI 304 1
7 WASHER 45C8 8
8 STUDS ASTM A193 GR. B16 8
9 NUTS ASTM A194 GR. B7 8
10 LABEL AISI 304 1

Product GAD

Pennant PT14BM Design
Pennant PT14BM Design

Dimensions

Nominal in mm

MODEL SIZE A B C D E WEIGHT
PT14BM DN15 – 25 200 126 56 100 100 15.4 Kg

Ordering Information

1) Inlet Pressure in bar(g)

2) Back Pressure in bar(g)

3) Operating Temperature in oC

4) Condensate Load in kg/hr

5) Size & End Connections

6) IBR/NIBR

Please Fill in the Details for Prompt Response