Compact Module - PCM41B/PCM41 | Bluebell - Authorized Valve Dealer & Supplier

Compact Module - PCM41B/PCM41

PCM41B/PCM41

Compact Module

DESCRIPTION:

Pennant compact module is a complete unit in itself. It is a forged steel module comprising upstream & downstream isolation valves, a universal connection for fitting a steam trap, Vent Valve on the upstream side of the steam trap and a steam trap test valve on the downstream side.

TMA: Max.

426 oC

PMA: Max.

42 bar(g)

MOC

A105

End connection: screwed (NPT / BSPT / BSP), SW

Available Sizes

Material

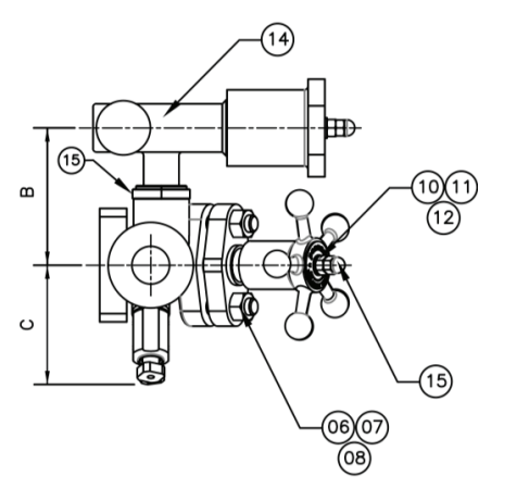
No. PART MATERIAL QTY. (Nos.)
1. BODY ASTM A105 1
2. BONNET ASTM A105 2
3. SEALING RING GRAPHITE WITH AISI 304 REINFORCED 6
4. LANTERN BUSH AISI 304 3
5. PISTON AISI 304 2
6. STUDS ASTM A193 Gr. B7 4
7. BELLEVILLE WASHERS 50CrV4 8
8. NUTS ASTM A194 Gr. 2H 4
9. HANDWHEEL ASTM 216 Gr. WCB 1
10. PLAIN WASHERS MILD STEEL 5
11. LABEL AISI 304 2
12. NUTS ASTM A194 Gr. 2H 3
13. TEST/VENT VALVE ASTM A351 Gr. CF8 2
14. BYPASS VALVE ASTM A351 Gr. CF8 1
15. LOCKNUT AISI 304 1

Product GAD

Pennant PCM41B/PCM41 Design1
Pennant PCM41B/PCM41 Design2
Pennant PCM41B/PCM41 Design3

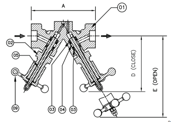
Dimensions

Nominal in mm

MODEL A B C D E
PCM41B 135 80 65 117 134

Ordering Information

1) Inlet Pressure in bar(g)

2) Back Pressure in bar(g)

3) Operating Temperature in oC

4) Size & End Connection

5) Flow Direction – Left to Right / Right to Left

Please Fill in the Details for Prompt Response