PAE10 | Bluebell - Authorized Valve Dealer & Supplier

PAE10

PAE10

Float Type Air Eliminator

DESCRIPTION:

PAE10 ball float air eliminator is designed to automatically discharge air/gas present in a liquid system.

TMA: Max.

220 oC

PMA: Max.

21 bar(g)

MOC

CAST IRON

End connection: Screwed NPT / BSPT / BSP

Available Sizes

Material

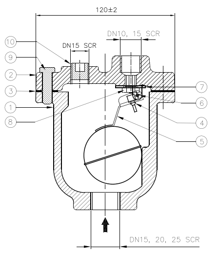
NO. PART MATERIAL QTY.
1. BODY CAST IRON 01
2. COVER CAST IRON 01
3. GASKET GRAPHITE WITH SS TANG 01
4. VALVE PIN VITON 01
5. FLOAT LEVER ASSY. AISI 304 01
6. BRACKET PIN AISI 304 01
7. BRACKET AISI 304 01
8. VALVE SEAT AISI 304 01
9. BOLTS HIGH TENSILE 07
10. PLUG C.S. 01

Product GAD

Pennant PAE10 Design

Weight

(approx.)

SIZE SCR/SW
DN15, 20, 25 3.2 Kg

Ordering Information

1) Inlet Pressure in bar(g)

2) Operating Temperature in oC

3) Air Flow in kg/hr

4) Size & Model

5) End Connections

Please Fill in the Details for Prompt Response