Y Type Strainer | Bluebell - Authorized Valve Dealer & Supplier

Strainers

Check Valves Categories

Strainer Categories

Y Type Strainer

Strainer

DESCRIPTION:

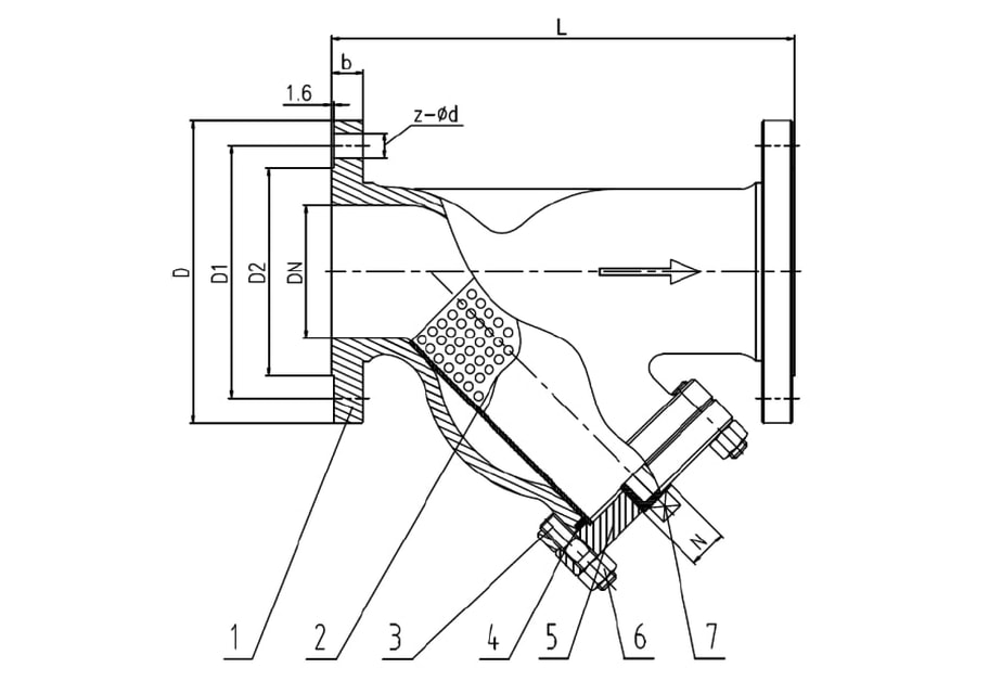
A Y-type strainer is a mechanical device used in pipelines to filter out debris and protect pumps, valves, and other equipment from potential damage. Named for its "Y" shape, it features a mesh or perforated screen inside a branch that collects solid particles from the flowing fluid.

Detailed Specifications

Model:YTS 40SS
Body:Stainless Steel (SS 316)
Description:Strainer
Temperature Rating:-10oC to 200oC
Screen:Perforated Stainless Steel Mesh
Pressure Rating (PN):ANSI 150
End Connection:Flanged Ends

Product GAD

Y Type Strainer Design

Please Fill in the Details for Prompt Response